EL PUT
El PUT : Es un semiconductor de cuatro capas (pnpn) cuyo funcionamiento es similar al del UJT. Es un tipo de tiristor y a veces se le llama “tiristor disparado por ánodo” debido a su configuración. Al igual que el UJT, se utiliza como oscilador y base de tiempos, pero es más flexible, ya que la compuerta se conecta a un divisor de tensión que permita variar la frecuencia del oscilador sin modificar la constante de tiempo RC
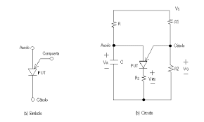
SIMBOLOGIA :
CIRCUITO EQUIVALENTE :
CURVA CARACTERISTICA:
Mientras la tensión Vak no alcance el valor Vp, el PUT estará abierto, por lo cual los niveles de corriente serán muy bajos. Una vez se alcance el nivel Vp, el dispositivo entrará en conducción presentando una baja impedancia y por lo tanto un elevado flujo de corriente. El retiro del nivel aplicado en compuerta, no llevará al dispositivo a su estado de bloqueo, es necesario que el nivel de voltaje Vak caiga lo suficiente para reducir la corriente por debajo de un valor de mantenimiento I(br)
FUNCIONAMIENTO :
Aunque tienen nombres similares, el UJT y el PUT son diferentes en construcción y en modo de operación. La designación se ha hecho en base a que presentan características tensión-corriente y aplicaciones similares. Mientras que el UJT es un dispositivo de dos capas, el PUT lo es de cuatro capas. El término programable es usado porque los valores de Rbb, n y Vp pueden controlarse mediante una red externa. En la figura 7 puede observarse la conformación física y circuital del PUT
SIMBOLOGIA :
CIRCUITO EQUIVALENTE :
CURVA CARACTERISTICA:
Mientras la tensión Vak no alcance el valor Vp, el PUT estará abierto, por lo cual los niveles de corriente serán muy bajos. Una vez se alcance el nivel Vp, el dispositivo entrará en conducción presentando una baja impedancia y por lo tanto un elevado flujo de corriente. El retiro del nivel aplicado en compuerta, no llevará al dispositivo a su estado de bloqueo, es necesario que el nivel de voltaje Vak caiga lo suficiente para reducir la corriente por debajo de un valor de mantenimiento I(br)
FUNCIONAMIENTO :
Aunque tienen nombres similares, el UJT y el PUT son diferentes en construcción y en modo de operación. La designación se ha hecho en base a que presentan características tensión-corriente y aplicaciones similares. Mientras que el UJT es un dispositivo de dos capas, el PUT lo es de cuatro capas. El término programable es usado porque los valores de Rbb, n y Vp pueden controlarse mediante una red externa. En la figura 7 puede observarse la conformación física y circuital del PUT
Cuando no hay corriente de compuerta el voltaje desarrollado en dicho terminal es:
Vg = Vbb Rb1/(Rb1 + Rb2) = n Vbb
El circuito no se disparará hasta tanto el potencial en el terminal de ánodo no sea superior en el voltaje de polarización directa de la juntura pn entre ánodo y compuerta y el voltaje de compuerta. Por lo tanto:
Vak = Vp = Vd + Vg = .7 + n Vbb
APLICACIONES:
OSCILADOR :
El funcionamiento es el siguiente: El condensador C se carga a través de la resistencia R hasta que el voltaje en A alcanza el voltaje Vp. En este momento el transistor se dispara y entra en conducción. El voltaje en VG cae casi hasta 0 (cero) voltios y el transistor se apaga, repitiéndose otra vez el proceso (oscilador)






 
 
Comentarios
Publicar un comentario